蘆洲區法拍屋成功路成功尊邸優室法拍林小陽

889法拍網
法拍屋,法拍屋代標,法拍屋出售

蘆洲區法拍屋成功路成功尊邸優室法拍林小陽|新北市-蘆洲區-法拍屋

成功尊邸 近廟口機能商圈│成功路77號3樓
列印
  • 售3070萬
    售2456萬
    1. 案號:2025/12/18-14:30 流標
    2. 房屋類型:法拍華廈
    3. 總登記坪數:50.83坪
    4. 每坪單價:48.32萬/坪
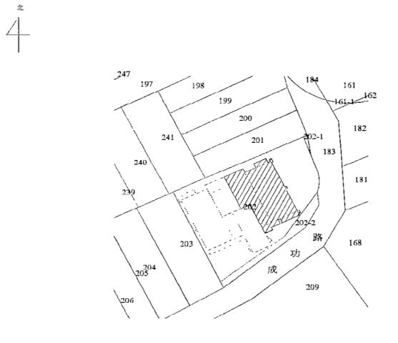
    5. 地址:新北市蘆洲區成功路77號3樓 ★ 林小陽 0966-781-595
    1. (煩請告知聯絡人,您是在House-Info房屋網看到廣告,感恩幫忙)
    2. 0966-781-595
    1. 市話:
    2. 公司名稱:
    3. 公司地址:
    4. 個人網站:
    優室法拍屋│Google五星商家│林小陽│專業法拍代標│信義房仲經驗│全台為您服務│凌陽有限公司-QR CODE 留言 檢舉 加LINE好友
物件介紹
詳細資料
格局
依房屋現場實際狀況為準
社區/大樓
屋齡
18年
車位
車位
所在樓層
3
電梯
法拍屋
本件是法拍拍賣房子
開標日期
2025/12/18-14:30
坪數說明
建物登記
50.83
主建物
27.89
附屬建物
4.61
公共設施
10.79
停車位
7.54
土地登記
14.75
特色描述
Google商店五星推薦★指定合法不動產經紀業★加入仲介公會顧客有保障★

馬上熱搜→→優室法拍→→林小陽~專線~0966781595

------------------------------------------------------------------



成功尊邸近廟口機能商圈│成功路77號3樓

本物件拍賣資訊,若有遺誤,概以執行單位公告為準。



------------------------------------------------------------------



↓台北市法拍屋請點選各區任意門↓



●中正區法拍案件|●大同區法拍案件|●中山區法拍案件|●松山區法拍案件



●大安區法拍案件|●萬華區法拍案件|●信義區法拍案件|●士林區法拍案件



●北投區法拍案件|●內湖區法拍案件|●南港區法拍案件|●文山區法拍案件



↓新北市法拍屋請點選各區任意門↓



▓板橋區法拍案件|▓汐止區法拍案件|▓深坑區法拍案件|▓新店區法拍案件



▓永和區法拍案件|▓中和區法拍案件|▓土城區法拍案件|▓三峽區法拍案件



▓樹林區法拍案件|▓鶯歌區法拍案件|▓三重區法拍案件|▓新莊區法拍案件



▓泰山區法拍案件|▓林口區法拍案件|▓蘆洲區法拍案件|▓五股區法拍案件



▓八里區法拍案件|▓淡水區法拍案件



↓桃園市法拍屋請點選各區任意門↓



▲桃園區法拍案件|▲中壢區法拍案件|▲蘆竹區法拍案件|▲龜山區法拍案件



▲八德區法拍案件|▲平鎮區法拍案件|▲大園區法拍案件|▲大溪區法拍案件



▲新屋區法拍案件|▲楊梅區法拍案件|▲龍潭區法拍案件|▲觀音區法拍案件



↓新竹縣市法拍屋請點選各區任意門↓



★東區法拍案件|★北區法拍案件|★香山區法拍案件|★竹北市法拍案件



★竹東鎮法拍案件|★新埔鎮法拍案件|★湖口鄉法拍案件|★新豐鄉法拍案件



↓基隆市法拍屋請點選各區任意門↓



★中正區法拍案件|★信義區法拍案件|★仁愛區法拍案件|★中山區法拍案件



★安樂區法拍案件|★暖暖區法拍案件|★七堵區法拍案件



↓宜蘭縣法拍屋請點選各區任意門↓



●宜蘭市法拍案件|●頭城鎮法拍案件|●礁溪鄉法拍案件|●冬山鄉法拍案件



●蘇澳鎮法拍案件|●五結鄉法拍案件|●羅東鎮法拍案件|●員山鄉法拍案件



●南澳鎮法拍案件|●壯圍鄉法拍案件|●三星鄉法拍案件



↓苗栗縣法拍屋請點選各區任意門↓



▓苗栗市法拍案件|▓頭份市法拍案件|▓竹南鎮法拍案件



------------------------------------------------------------------



■房屋案源■司法院法拍屋公告、台灣金融資產公司法拍屋金拍屋、國有財產署拍賣公告

■房屋類型■透天、別墅、豪宅、店面、土地、獨立套房、公寓、電梯大樓、辦公室、廠房、純辦、住辦

■品質保證■空屋點交、產權清楚、過濾輻射屋、海砂屋、凶宅

■公司團隊■領導人及業務皆來自信義房屋、永慶房屋等直營體系,是您投資置產的首席顧問

■專業律師■協助不點交程序、遺產持份變價分割、民法強制執行法訴訟

■專業代書■不動產買賣過戶、移轉登記

■金融行庫■代墊尾款、房屋貸款、青年首購、軍公教優惠房貸利率

■其他服務■專業室內裝潢設計、包租代管、節稅規劃



------------------------------------------------------------------



免費諮詢→→優室法拍→→林小陽~專線~0966-781-595
物件照片
蘆洲法拍法拍屋-0
蘆洲法拍法拍屋-0
蘆洲法拍法拍屋-1
蘆洲法拍法拍屋-1
蘆洲法拍法拍屋-2
蘆洲法拍法拍屋-2
蘆洲法拍法拍屋-3
蘆洲法拍法拍屋-3
蘆洲法拍法拍屋-4
蘆洲法拍法拍屋-4
蘆洲法拍法拍屋-5
蘆洲法拍法拍屋-5
贊助商廣告
物件留言
請注意,如果您詢問的內容與物件不相符合或是廣告,經過審核,系統將會直接刪除您的發問內容
等待圖示
檢舉不實
等待圖示
黃金曝光
889法拍網免責聲明:本系統為開放租用式法拍拍賣聯賣網站建置平台,僅提供查詢-新北,蘆洲,法拍屋-等法拍資訊參考,並不涉入任何諮詢、交易。物件(服務)聯絡人公佈的資訊、文字、照片、圖形、產權、廣告內容、或其他資料若有不實或違法情事,或與客戶聯絡交易過程中若衍生民事或刑事等法律問題,皆與本網站無關,所有商標、文章、名稱等版權,皆歸屬原著作者所有!